電站閥自密封閥門結構介紹【圖】
電站閥指的是電站專用閥門,使用廣泛,其中使用在火力電站各種系統的管路上用來切斷或接通管路介質的電站閥是電站閘閥,這類電站閥門與其他閥門產品相比的特點是高溫高壓, 的自密封設計,壓力越高,密封越可靠。
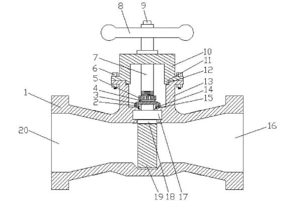
但是電站閘閥的閥桿推動閘板截斷時,閥門內部的壓力升高,介質容易經過閥桿與閥座的連接間隙,進入閥座的內部,造成介質泄露的問題。那么該如何解決呢?
目前相關廠家研發了一種自密封電站閥門就可以很好的解決上述問題。
電站閥自密封閥門結構及特點介紹如下:

當閥體內部的介質壓力升高時,會擠壓防滲橡膠塊的表面,致使防滲橡膠塊充分抵在閥體的內壁上,從而阻止介質泄露,當部分介質穿過防滲橡膠塊與閥體之間的間隙進入膨脹塊內部的膨脹槽時,隨著膨脹槽內部的介質不斷增加,促使膨脹槽內部的壓力升高,推動固定環向外部擴張,使固定環表面與固定槽表面精密貼合,從而進一步防止介質泄露,通過上述結構可以極大提高電站閥門的密封效果,通過防滲橡膠塊的邊緣處設置有凹陷,有利于在 短的時間內受到介質壓力升高的影響,使防滲橡膠塊抵在閥體的內壁上,通過閥桿的表面上旋擰安裝有限位環,有利于對膨脹塊進行固定,通過閥座的內部內壁設置有安裝槽,閥蓋的底部設置有與安裝槽相配合的凸出,有利于將閥座與閥蓋對齊,方便閥蓋的安裝。
上一篇新聞:美標閥門和國標閥門尺寸差別
下一篇新聞:美標微阻緩閉止回閥用途及特點介紹
